Product Summary
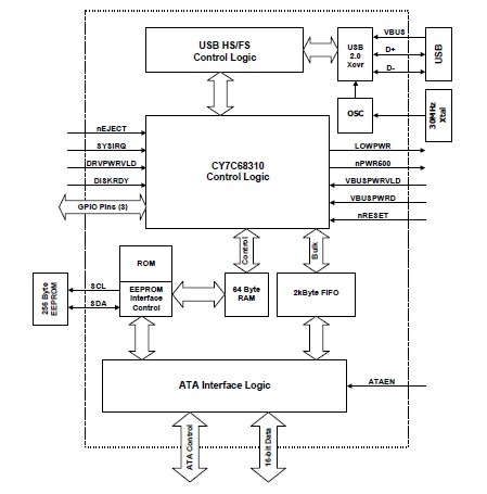
The CY7C68310-80AC implements a bridge between one USB port and one ATA/ATAPI-based mass storage device port. The USB port of the CY7C68310-80AC is connected to a host computer directly or via the downstream port of a USB hub. Host software issues commands and data to the CY7C68310-80AC and receives status and data from the CY7C68310-80AC using standard USB protocol. Applications are (1)CD-ROM, CD-R/W; (2)DVD-ROM, DVD-RAM, DVD-R/W; (3)MP3 players; (4)Compact flash; (5)Microdrives; (6)Tape drives; (7)Personal video recorders.
Parametrics
CY7C68310-80AC absolute maximum ratings: (1)Storage Temperature : –65 to 150°C; (2)Ambient Temperature with power supplied : 0 to 70°C; (3)Supply Voltage to Ground Potential : –0.5 to 5.5 V; (4)DC Input Voltage to Any Input Pin : –0.5 to 5.5 V; (5)DC Voltage Applied to Outputs in high-Z : –0.5 to 5.5 V; (6)Power Dissipation : 235 mW; (7)Static Discharge Voltage (Meets NEC ASIC ESD specifications IEC-GQ-6002-01 and IEC-6005-01): > 2000 V; (8)Max Output Current per I/O port : 20 mA; (9)Latch-up Current: > 200 mA; (10)Operating temperature: 0 to 70°C.
Features
CY7C68310-80AC features: (1)2-Kbyte SRAM data buffer for ATA/ATAPI data transfers; (2)ATA interface supports ATA PIO modes 0–4, UDMA modes 0–4 (multiword DMA not supported). ATA interface operation mode is automatically selected during device initialization or manually programmed with I2C-compatible configuration data; (3)Automatic detection of either Master or Slave ATA/ATAPI devices; (4)Mode Page 5 Support–increased support for formatting removable media devices; (5)ATA Interrupt support for ATAPI devices–offers more robust ATA support across OS platforms; (6)System event notification via Vendor-specific ATA command.
Diagrams
| Image | Part No | Mfg | Description | ![]() |
Pricing (USD) |
Quantity | ||||||||||||
|---|---|---|---|---|---|---|---|---|---|---|---|---|---|---|---|---|---|---|
![]() |
![]() CY7C68310-80AC |
![]() Other |
![]() |
![]() Data Sheet |
![]() Negotiable |
|
||||||||||||
| Image | Part No | Mfg | Description | ![]() |
Pricing (USD) |
Quantity | ||||||||||||
![]() |
![]() CY7C006 |
![]() Other |
![]() |
![]() Data Sheet |
![]() Negotiable |
|
||||||||||||
![]() |
![]() CY7C006A |
![]() Other |
![]() |
![]() Data Sheet |
![]() Negotiable |
|
||||||||||||
![]() |
![]() CY7C006A-15AXC |
![]() Cypress Semiconductor |
![]() SRAM 5V 16Kx8 COM Dual Port SRAM |
![]() Data Sheet |
![]() Negotiable |
|
||||||||||||
![]() |
![]() CY7C006A-15AXCT |
![]() Cypress Semiconductor |
![]() SRAM 5V 16Kx8 COM Dual Port SRAM |
![]() Data Sheet |
![]() Negotiable |
|
||||||||||||
![]() |
![]() CY7C006A-20AC |
![]() |
![]() IC SRAM 16KX8 DUAL 64LQFP |
![]() Data Sheet |
![]() Negotiable |
|
||||||||||||
![]() |
![]() CY7C006A-20AXC |
![]() Cypress Semiconductor |
![]() SRAM 5V 16Kx8 COM Dual Port SRAM |
![]() Data Sheet |
![]()
|
|
||||||||||||
(China (Mainland))











