Product Summary
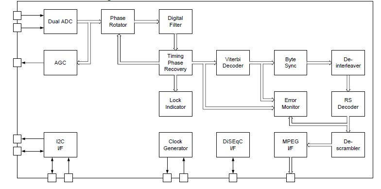
The S5H1411X01-TO80 is a single chip channel decoder IC for DBS (Digital Broadcasting System for Satellite) receiver. It consists of a multi-standard QPSK/BPSK demodulator and FEC (Forward Error Correction) decoder compliant with DVB-S and DSS standard. For multi-antenna control it provides DiSEqC1.x and 2.0 standards.
Parametrics
S5H1411X01-TO80 absolute maximum ratings: (1)VCC, DC Supply Voltage: -0.3 to 4.6V; (2)VIN, 3.3V Input Voltage: -0.3 to VDD+0.3V; (3)IIN, DC 3.3V Input Current: +/- 10mA; (4)Tstg, Storage Temperature: -40 to +125℃; (5)Topr, Operation Temperature: 0 to +70℃.
Features
S5H1411X01-TO80 features: (1)Compliant to DVB-S and DSS standard; (2)Single chip decoder (ADC/QPSK/FEC).; (3)Flexible Interface (I2C, MPEG2).; (4)DiSEqC 1.x or 2.0 specification support.; (5)Satellite dish control.; (6)DC offset cancellation.; (7)Automatic gain control; (8)Nyquist filter: 0.35 for DVB-S, 0.2 for DSS.; (9)Fully digital synchronization; (10)Carrier offset cancellation up to ±1/2sampling frequency; (11)Modulation rate from 1 to 87Mbps(1 ~ 50 Msps); (12)QPSK demodulation quality estimation.
Diagrams

![]()  | 
                            ![]() S5H1420  | 
                            ![]() Other  | 
                            ![]()  | 
                            ![]() Data Sheet  | 
                            ![]() Negotiable  | 
                            
                            	 | 
                      ||||
 (China (Mainland)) 
                         
                        
                                    






